Камеры видеонаблюдения 4K со встроенными зимними нагревательными элементами, светодиодные рекламные экраны, светильники с питанием по PoE — CRS320 может выдавать до 90 Вт на порт, чего достаточно даже для самых требовательных устройств! Он поставляется с надежным блоком питания мощностью 600 Вт, но мы зарезервировали слот расширения для дополнительного блока питания на случай, если вам понадобится увеличить выходную мощность до 1150 Вт.
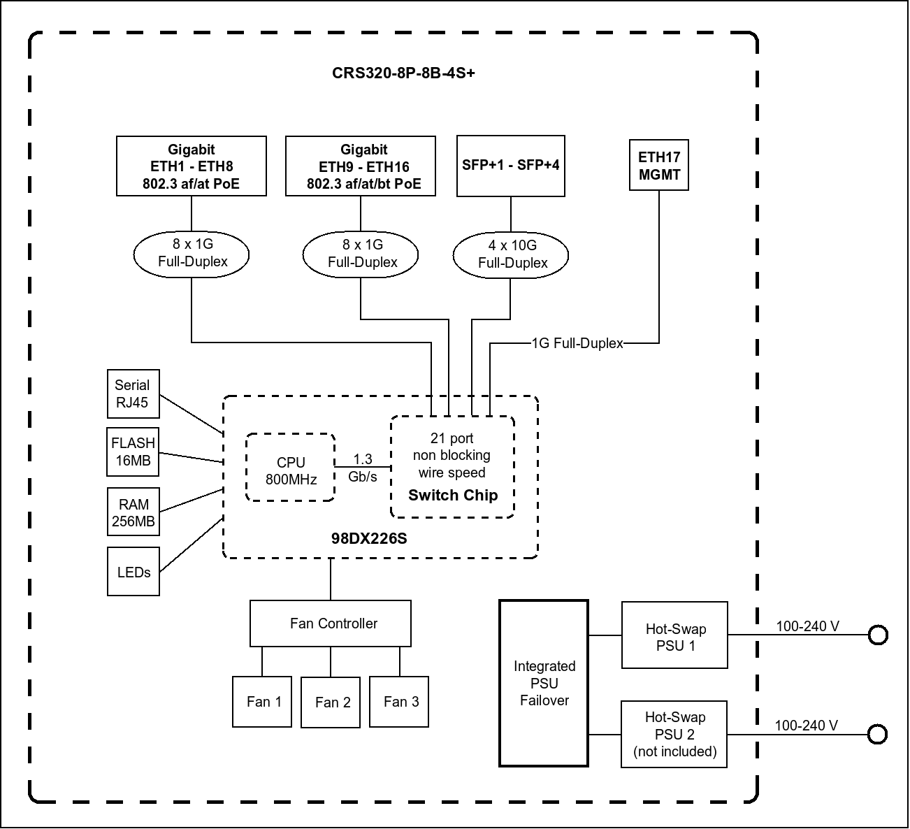
Имеется 17 портов Gigabit Ethernet: порты Gigabit Ethernet №1–8 с выходом PoE 802.3af/at, порты PoE++ №9–16 802.3bt и дополнительный порт Gigabit Ethernet для целей управления. Также имеется консольный порт и четыре оптоволоконных порта 10G SFP+ для магистрального канала.
В основе этого удобного коммутатора лежит феноменальный коммутатор Marvel — тот же самый, который вы видели в бестселлерах интернет-провайдеров, таких как netPower 16P и netFiber 9! Он может обрабатывать самые большие нагрузки, включая фильтрацию VLAN и маршрутизацию уровня 3 с аппаратной разгрузкой.
Если вы искали способ упростить прокладку кабелей – вот он! С помощью одного CRS320 вы можете отказаться от бесконечного беспорядка адаптеров питания постоянного тока и начать жить чистой минималистской мечтой о PoE.
В отличие от нашего предыдущего оборудования источника питания 802.3af/at, это первый коммутатор PoE с полной реализацией стандарта 802.3af/at/bt. Он поддерживает только полностью совместимые устройства с питанием 802.3 at/af/bt — mAP-lite / RB1100AHx4 / CRS510-8XS-2XQ / CRS504-4XQ / FTC11XG / CRS305-1G-4S+OUT. Хотя он также может питать устройства с питанием, совместимые с 802.3af/at/bt, необходимо избегать определенных сценариев заземления. Пожалуйста, обратитесь к официальной странице помощи. .
В комплект входит блок питания с возможностью горячей замены.
| Общие характеристики | |
| Бренд | MikroTik |
| Проводные, оптические интерфейсы | 17xGigabit, 4xSFP+ |
| Операционная система | Mikrotik RouterOS Level 5 |
| Архитектура | ARM 32bit |
| Процессор | 98DX226S, 800 Мгц, 1 ядро |
| Чип коммутации | 98DX226S |
| Память ОЗУ | 256MB |
| Диск для данных | 32MB Flash |
| Гарантия | 1 год |
| Консольный порт | RJ-45 |
| Питание через IEC | 100-240 V AC, C14, встроенный блок питания |
| Энергопотребление | 963 ВТ |
| Исполнение корпуса | Внутрикомнатное для стойки 19'' |
| Диапазон рабочих температур | -10°C до + 50°C |
| Проводные интерфейсы | |
| Количество портов Gigabit Ethernet | 17 |
| Количество портов PoE out | 16 |
| Количество портов 10G SFP+ | 4 |
| Порты PoE-out | |
| Питание PoE out | Ether1-Ether8 (af/at), Ether9-Ether16 (bt) |
| PoE out Максимальный ток на один порт | 560 (af/at) / 1667 (bt) mA |
| PoE out Максимальный суммарный ток | 17.82 A |
Для покупки товара в нашем интернет-магазине выберите понравившийся товар и добавьте его в корзину. Далее перейдите в Корзину и нажмите на «Оформить заказ» или «Быстрый заказ».
Когда оформляете быстрый заказ, напишите ФИО, телефон и e-mail. Вам перезвонит менеджер и уточнит условия заказа. По результатам разговора вам придет подтверждение оформления товара на почту или через СМС. Теперь останется только ждать доставки и радоваться новой покупке.
Оформление заказа в стандартном режиме выглядит следующим образом. Заполняете полностью форму по последовательным этапам: адрес, способ доставки, оплаты, данные о себе. Советуем в комментарии к заказу написать информацию, которая поможет курьеру вас найти. Нажмите кнопку «Оформить заказ».
Оплачивайте покупки удобным способом. В интернет-магазине доступно 3 варианта оплаты:
-
1. По счёту в любом банке или платежном терминале с учетом комиссионных, взимаемых финансовым оператором.
2. Электронными средствами платежа через эквайринг Альфа Банка или платёжного интегратора PayMaster.
Доступны следующие способы оплаты:
Система Быстрых Платежей (СБП) - Банковская карта (VISA, MasterCard, МИР, Maestro)
- WebMoney
- Альфа-Банк
- ВТБ
- Почта России
- ПромСвязьБанк
- Банк Русский Стандарт
Доставка по России осуществляется в рамках действующих контрактов с транспортными операторами СДЭК, BoxBerry, Деловые Линии.
Заказчик оборудования вправе самостоятельно и за свой счет организовать доставку оборудования с нашего склада.
Пункты выдачи товаров находятся во всех городах России. Вы можете забрать товар самовывозом.
